软件资讯

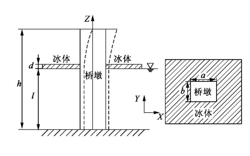
  • 冰体边界范围对桥墩地震反应的影响研究

    在考虑冰-水-桥墩流固耦合的基础上,利用有限元分析软件 ADINA,研究了不同水深和不同类型地震等条件下,桥墩 周围固结海冰的边界范围对桥墩地震反应及动水压力的影响。结果表明: 墩身位移和加速度、墩底最大弯矩和剪力随着冰体 边界范围的增大而增大,但水深超过桥墩高度的 4 /5 时,冰体边界范围对墩身位移和加速度基本无影响。同时,桥墩侧面动水 压力也随着冰体边界范围的增大而增大,且增大程度越来越显著。另外,与冰体边界范围为桥墩横截面尺寸 30 倍时相比,冰 体边界范围为桥墩横截面尺寸 40 倍时墩底最大弯矩和剪力可增大 332. 34% 和 245. 20% 以上,因此,在进行冰水域桥墩抗震 设计时应着重考虑冰体边界范围为桥墩横截面尺寸 30 倍以上的冰体对结构地震反应的影响。

    2024-12-12 iGeo

  • LNG储罐预应力混凝土外罐应力分布与裂缝形态

    LNG 储罐的外罐主要是由预应力混凝土建造而成,混凝土作为一种复杂的非线性材料,其受 力特点为抗压不抗拉。应用 ADINA 有限元软件,建立钢筋混凝土分离式模型,通过应力云图及裂 缝开展图,研究 LNG 储罐在正常使用状态及内罐完全泄漏状态下预应力混凝土的应力分布、裂缝开 展情况及破坏形态。结果表明:在正常使用状态下,外罐上下两固定端第一主应力最大;在内罐泄漏 状态下,底部约 1/4 高度第一主应力最大,此三处为外罐最易产生裂缝的部位,破坏形态均为混凝土 受拉破坏。研究结果为国内 LNG 储罐的自主设计与建造提供了理论依据。

    2024-12-12 iGeo

  • 背后山古滑坡对汉源老县城震害的影响

    通过对背后山地形地貌、地层岩性、地质构造等进行了野外考察,揭示了背后山发育的古滑坡,圈定了古 滑坡周界,分析了汶川地震对背后山古滑坡的影响。利用有限元软件 ADINA 估算了背后山古滑坡的卓越周期, 并与汉源老县城附近的强震记录的卓越周期进行了对比,发现可能出现了共振现象。最后探讨了背后山古滑坡对 汉源老县城建筑物震害的影响。

    2024-12-12 iGeo

  • 北盘江特大桥大体积承台混凝土温控分析与监测

    水盘高速公路北盘江特大桥为5×30+82.5+220+290+220+82.5+7×30m 预应力混凝土空腹(斜腿)式连续刚构,主跨290m 按常规高标号混凝土(C55)施工目前属世 界第一。主墩承台为28m×28m×5m,属典型的大体积混凝土块体,其所处地理位置环境 复杂,昼夜温差极大,在施工中,对大体积混凝土的温度控制和裂缝控制难度较高。笔者采用 大型有限元软件 ADINA 分析了温度应力分布,分析了环境温度变化以及分层浇筑对混凝土 温度的影响,并采用了有效的温控措施,在施工过程中全面监测,通过减小混凝土内外温差、 降低外界条件对混凝土变形约束,成功地完成了承台大体积混凝土的施工,积累了复杂地形、 多变环境下的现场施工经验。

    2024-12-12 iGeo

  • 薄钢板剪力墙抗震性能非线性有限元分析

    应用有限元分析软件 , 建立了薄钢板剪力墙在滞回荷载作用下的有限元分析模 型 , 对其 抗震性能进行 了数值模拟分析研究 , 并与有关试验数据进行了对比分析 , 结果表明 , 采用薄钢板剪力墙作为杭侧力构件 , 可显著提高结构的承载力、延性和减震耗能性能 。

    2024-12-12 iGeo

  • LNG储罐外墙温度应力分析及预应力筋设计

    大型 LNG储罐的外墙一般由预应力混凝土建造,其应力分布及变形比较复杂。在介绍预应力混凝土外墙温度应力计算方法 的基础上,采用理论分析的方法,推导出了圆筒形外墙温度应力的计算公式、外墙在温差荷载及其他普通荷载作用下预应力筋的计 算公式以及最大环向应力所在位置计算公式,进而给出了预应力筋结构调整的方 案。研 究 结 果 表 明,内罐的超低温液体会使预应 力混凝土外墙产生很大的温度应力,环向温度应力最大可达混凝土抗拉强度的一半,使外墙在受内压时更加危险,因此在环向预应 力筋设计时须考虑温差荷载影响。而后采用 ADINA 有限元软件建立多个钢筋混凝土分离式模型进行数值模拟,不仅验证了所推 导公式的正确性,而且证明了该结构优化方案使外墙的变形及应力分布更加合理。

    2024-12-12 iGeo

  • 坝体土体和防渗墙模量变化对防渗墙应力变形的敏感性分析

    结合某水库的除险加固工程, 建立二维有限元模型对采用低弹模混凝土防渗墙的某土石坝进行了数值模 拟。分析计算按加固过程中的施工进度模拟, 同时利用 adina 中多孔介质材料属性, 考虑了坝体中渗流作用对防渗墙应 力变形的影响。接触面单元考虑到在防渗墙的实际施工中需要泥浆护壁, 采用 Go odman 修正单元。为分析坝体土体和 墙体材料的弹性模量对墙体应力和变形的影响, 研究了正常水位下防渗墙的应力和变形随坝体土体和防渗墙弹性模量 变化而变化的规律性。计算结果表明: 当防渗墙的弹模小于 5 000 M Pa 时, 墙体应力随防渗墙弹性模量的变化不敏感, 当防渗墙的弹模大于 5 000 MPa 时, 墙体应力随防渗墙弹性模量的变化敏感; 最大水平位移随着防渗墙模量的增大变化 不大, 对防渗墙模量的变化不敏感; 防渗墙墙体应力和变形对坝体土体弹性模量的变化不敏感。

    2024-12-12 iGeo

  • T形矩管节点不同强化方式的力学性能研究

    研究了矩管钢管桁架 T 形强化节点的基本受力特征和性能差异,借助大型通用有限元程序 ADINA,建立了无强化与 4 种不同的强化方式共 5 组不同构造参数的 T 形连接节点数值模型,结合节点实际受力状况分别考虑单向轴力、单轴拉压作用 以及拉压轴力与水平干扰力组合作用三种工况,进行了极限承载力和滞回性能的数值分析计算,得出外套管强化节点具有相 对较好的综合力学性能,可为类似工程节点强化构造设计以及后续矩管桁架强化节点试验研究提供参考。

    2024-12-12 iGeo

储罐的动特性分析